メカニカル部品技術窓口

![]() |
|
| Type | [ M ]材質 | [ S ]表面処理 |
| E-GBPWSSS | SUS304 | ステンレスブラック |
| 型式(D) | - | V | - | T |
| E-GBPWSSS5 | - | 3 | - | 1 |
| 型番 | V | T | ¥基準単価 | |||||||||||||||
| Type | D | 選択 | 選択 | T=1 | T=2 | T=3 | ||||||||||||
| E−GBPWSSS | 5 | 2 | 3 | 1 | 92 | - | - | |||||||||||
| 6 | 2 | 3 | 1 | 103 | - | - | ||||||||||||
| 8 | 3 | 4 | 1 | 2 | 53 | 59 | - | |||||||||||
| 5 | 6 | 1 | 47 | - | - | |||||||||||||
| 10 | 3 | 4 | 5 | 6 | 1 | 2 | 59 | 82 | - | |||||||||
| 12 | 3 | 4 | 5 | 6 | 1 | 2 | 3 | 62 | 81 | 97 | ||||||||
| 8 | 1 | 69 | - | - | ||||||||||||||
| 13 | 4 | 2 | - | 79 | - | |||||||||||||
| 5 | 6 | 1 | 2 | 3 | 43 | 86 | 144 | |||||||||||
| 8 | 1 | 2 | 76 | 106 | - | |||||||||||||
| 10 | 1 | 78 | - | - | ||||||||||||||
| 14 | 4 | 1 | 2 | 103 | 121 | - | ||||||||||||
| 5 | 6 | 8 | 1 | 2 | 3 | 70 | 96 | 126 | ||||||||||
| 10 | 1 | 53 | - | - | ||||||||||||||
| 15 | 4 | 5 | 8 | 1 | 2 | 3 | 83 | 49 | 86 | |||||||||
| 10 | 1 | 2 | 44 | 113 | - | |||||||||||||
| 12 | 1 | 43 | - | - | ||||||||||||||
| 6 | 1 | 3 | 66 | - | 132 | |||||||||||||
| 16 | 4 | 6 | 8 | 10 | 1 | 2 | 3 | 65 | 126 | 96 | ||||||||
| 12 | 1 | 134 | - | - | ||||||||||||||
| 5 | 1 | 3 | 65 | - | 143 | |||||||||||||
| 20 | 4 | 5 | 6 | 8 | 10 | 12 | 1 | 2 | 3 | 76 | 94 | 88 | ||||||
| 15 | 2 | - | 120 | - | ||||||||||||||
| 25 | 6 | 8 | 10 | 12 | 15 | 2 | 3 | - | 108 | 147 | ||||||||
| 16 | 3 | - | - | 33 | ||||||||||||||
| 20 | 2 | - | 60 | - | ||||||||||||||
| 30 | 8 | 10 | 12 | 15 | 2 | 3 | - | 143 | 186 | |||||||||
| 16 | 3 | - | - | 50 | ||||||||||||||
| 20 | 2 | - | 67 | - | ||||||||||||||
| 表面処理 | 光沢度 | 写真 |
| ステンレスブラック | 6.8 | ![]() |
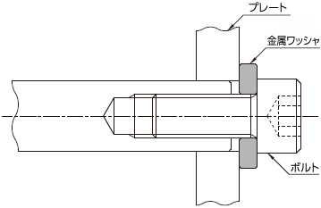
| 座面を確保する使用例 | ||
| ■ボルトによる接続が安定。 | ||
![]() | ![]() | |
| 緩み防止の使用例 | 軟質材料補強の使用例 | |
| ■座面の摩擦を大きくすることで、緩み防止ができます。 | ■ボルトの食い込み防止。 | |
![]() | ![]() | |
| ばね座金としての使用例 | ||
![]() | ![]() |
①プレス品金属ワッシャは旋削加工では無くプレス加工されています。
②本写真はプレス加工後(表面処理前)の参考画像になります。
| 型式 | 内径 | 外径 | 厚み | 拡大画像 | ダレ | ||
| 上面視点 | 外周側面視点 | 外径 | 内径 | ||||
| E-GPWSSS-6-3-1 | 3 | 6 | 1 | ![]() | ![]() | ![]() | ![]() |
| E-GPWSSS-15-5-2 | 5 | 15 | 2 | ![]() | ![]() | ![]() | ![]() |
| E-GPWSSS-20-8-3 | 8 | 20 | 3 | ![]() | ![]() | ![]() | ![]() |
| 型番 |
|---|
通常単価(税別)
(税込単価) | 通常出荷日 |
|---|
92円 ( 101円 ) | 在庫品1日目当日出荷可能 |
47円 ( 52円 ) | 在庫品1日目当日出荷可能 |
103円 ( 113円 ) | 在庫品1日目当日出荷可能 |
61円 ( 67円 ) | 在庫品1日目当日出荷可能 |
53円 ( 58円 ) | 在庫品1日目当日出荷可能 |
59円 ( 65円 ) | 在庫品1日目当日出荷可能 |
56円 ( 62円 ) | 在庫品1日目当日出荷可能 |
76円 ( 84円 ) | 在庫品1日目当日出荷可能 |
47円 ( 52円 ) | 在庫品1日目当日出荷可能 |
56円 ( 62円 ) | 在庫品1日目当日出荷可能 |
59円 ( 65円 ) | 在庫品1日目当日出荷可能 |
82円 ( 90円 ) | 在庫品1日目当日出荷可能 |
68円 ( 75円 ) | 在庫品1日目当日出荷可能 |
72円 ( 79円 ) | 在庫品1日目当日出荷可能 |
70円 ( 77円 ) | 在庫品1日目当日出荷可能 |
73円 ( 80円 ) | 在庫品1日目当日出荷可能 |
62円 ( 68円 ) | 在庫品1日目当日出荷可能 |
76円 ( 84円 ) | 在庫品1日目当日出荷可能 |
62円 ( 68円 ) | 在庫品1日目当日出荷可能 |
81円 ( 89円 ) | 在庫品1日目当日出荷可能 |
97円 ( 107円 ) | 在庫品1日目当日出荷可能 |
55円 ( 61円 ) | 在庫品1日目当日出荷可能 |
69円 ( 76円 ) | 在庫品1日目当日出荷可能 |
113円 ( 124円 ) | 在庫品1日目当日出荷可能 |
56円 ( 62円 ) | 在庫品1日目当日出荷可能 |
64円 ( 70円 ) | 在庫品1日目当日出荷可能 |
128円 ( 141円 ) | 在庫品1日目当日出荷可能 |
66円 ( 73円 ) | 在庫品1日目当日出荷可能 |
57円 ( 63円 ) | 在庫品1日目当日出荷可能 |
105円 ( 116円 ) | 在庫品1日目当日出荷可能 |
69円 ( 76円 ) | 在庫品1日目当日出荷可能 |
79円 ( 87円 ) | 在庫品1日目当日出荷可能 |
43円 ( 47円 ) | 在庫品1日目当日出荷可能 |
86円 ( 95円 ) | 在庫品1日目当日出荷可能 |
144円 ( 158円 ) | 在庫品1日目当日出荷可能 |
65円 ( 72円 ) | 在庫品1日目当日出荷可能 |
99円 ( 109円 ) | 在庫品1日目当日出荷可能 |
89円 ( 98円 ) | 在庫品1日目当日出荷可能 |
76円 ( 84円 ) | 在庫品1日目当日出荷可能 |
106円 ( 117円 ) | 在庫品1日目当日出荷可能 |
78円 ( 86円 ) | 在庫品1日目当日出荷可能 |
103円 ( 113円 ) | 在庫品1日目当日出荷可能 |
121円 ( 133円 ) | 在庫品1日目当日出荷可能 |
70円 ( 77円 ) | 在庫品1日目当日出荷可能 |
79円 ( 87円 ) | 在庫品1日目当日出荷可能 |
126円 ( 139円 ) | 在庫品1日目当日出荷可能 |
78円 ( 86円 ) | 在庫品1日目当日出荷可能 |
77円 ( 85円 ) | 在庫品1日目当日出荷可能 |
69円 ( 76円 ) | 在庫品1日目当日出荷可能 |
73円 ( 80円 ) | 在庫品1日目当日出荷可能 |
96円 ( 106円 ) | 在庫品1日目当日出荷可能 |
130円 ( 143円 ) | 在庫品1日目当日出荷可能 |
53円 ( 58円 ) | 在庫品1日目当日出荷可能 |
87円 ( 96円 ) | 在庫品1日目当日出荷可能 |
49円 ( 54円 ) | 在庫品1日目当日出荷可能 |
86円 ( 95円 ) | 在庫品1日目当日出荷可能 |
83円 ( 91円 ) | 在庫品1日目当日出荷可能 |
91円 ( 100円 ) | 在庫品1日目当日出荷可能 |
119円 ( 131円 ) | 在庫品1日目当日出荷可能 |
66円 ( 73円 ) | 在庫品1日目当日出荷可能 |
【ステンレスブラック×低反射】防錆機能を維持したステンレスブラックの金属ワッシャです。低反射の仕上がりで反射防止を必要とする検査用途などに利用頂けます。
通常価格、通常出荷日が表示と異なる場合がございます
通常価格、通常出荷日が表示と異なる場合がございます

ミスミ
金属ワッシャ T寸選択・指定タイプ 並級・精密級
4.7通常価格(税別):160円~

ミスミ
金属ワッシャ -並級/精密級 寸法フリー指定タイプ-
4.6通常価格(税別):260円~

ミスミ
金属カラー 並級・精密級
4.7通常価格(税別):210円~

ミスミ
金属カラー -並級/精密級 寸法フリー指定タイプ-
4.7
ミスミ
金属中空スペーサー(金属ワッシャ・カラー)
0
ミスミ
金属ワッシャ -タップタイプ-
4.6
ミスミ
金属ワッシャ -焼入品 T寸選択タイプ-
4.6通常価格(税別):160円~

ミスミ
金属ワッシャ -ザグリ穴タイプ-
4.7
ミスミ
金属カラー -ツバ付タイプ 並級/精密級-
4.6