メカニカル部品技術窓口
ミスミ品のみ対象


| Type | [ M ]材質 | [ S ]表面処理 | 洗浄方法 | |||
| 洗浄方法 | 洗浄環境 | 梱包形態 | 梱包環境 | |||
| SH-NFJNS | SUS304 | 電解研磨 | 精密洗浄 | クラス1000 | 脱気2重梱包 | クラス10 |
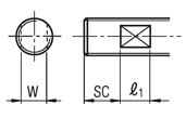
詳細図を記載しておりますので、ご確認ください。| 型式 | − | A |
| SH-NFJNS10 | − | 75 |
| 型式 | L | D | (ℓ1) | (ℓ2) | E | B | t | M | ねじ ピッチ | 垂直耐荷重(kN) | 質量 | ¥基準単価 | |
| Type | M−A | (並目) | (g) | SH-NFJNS | |||||||||
| SH-NFJNS (ステンレス) | 5−30 | 40.5 | 30 | 3.5 | 4 | 5.4 | 8 | 1.6 | 5 | 0.8 | 1.5 | 15 | 1,900 |
| 5−60 | 70.5 | 19 | 1,930 | ||||||||||
| 6−40 | 51 | 4 | 5 | 10 | 6 | 1.0 | 2.1 | 21 | 1,930 | ||||
| 6−80 | 91 | 28 | 1,970 | ||||||||||
| 8−50 | 68.1 | 38 | 5.5 | 6.5 | 11 | 13 | 8 | 1.25 | 3.9 | 50 | 1,960 | ||
| 8−100 | 118.1 | 65 | 2,020 | ||||||||||
| 10−75 | 94.6 | 7 | 8 | 17 | 10 | 1.5 | 4.3 | 88 | 2,040 | ||||
| 10−100 | 119.6 | 100 | 2,260 | ||||||||||
| 12-50 | 78 | 60 | 8 | 10 | 18 | 19 | 2.0 | 12 | 1.75 | 4.9 | 142 | 2,230 | |
| 12−75 | 103 | 166 | 2,230 | ||||||||||
| 12−100 | 128 | 184 | 1,970 | ||||||||||
| 12−125 | 153 | 200 | 2,000 | ||||||||||
| 12−150 | 178 | 219 | 2,630 | ||||||||||
| 16−75 | 107 | 75 | 10 | 13 | 20 | 24 | 16 | 2.0 | 5.9 | 287 | 2,640 | ||
| 16−100 | 132 | 317 | 2,350 | ||||||||||
| 16−130 | 162 | 356 | 2,440 | ||||||||||
| 16−150 | 182 | 383 | 2,960 | ||||||||||
| 16−180 | 212 | 422 | 2,820 | ||||||||||
| 20−100 | 135 | 13 | 16 | 30 | 20 | 2.5 | 8.8 | 493 | 3,000 | ||||
| 20−130 | 165 | 557 | 3,200 | ||||||||||
| 20−150 | 185 | 605 | 4,210 | ||||||||||
| 20−180 | 215 | 671 | 3,460 | ||||||||||
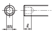
| 型式 | − | (WC・WK・SC・WN) |
| SH-NFJNS12-75 | − | WC |
| Alteration | 四角取追加工 | 六角取追加工 | スパナ溝加工 | 六角レンチ穴加工 | ||||||||||||||||||||||||||||||||||||||||||||||||||||||
![]() | ![]() | ![]() | ![]() | |||||||||||||||||||||||||||||||||||||||||||||||||||||||
| Code | WC | WK | SC | WN | ||||||||||||||||||||||||||||||||||||||||||||||||||||||
| Spec. | 指定方法 WC [ ! ]20≧M≧10に適用
| 指定方法 WK [ ! ]20≧M≧10に適用
| 指定方法 SC [ ! ]20≧M≧10に適用
| 指定方法 WN [ ! ]20≧M≧10に適用
| ||||||||||||||||||||||||||||||||||||||||||||||||||||||
| ¥/1Code | 525 | 525 | 525 | 525 |

洗浄工程作業環境:一般環境 | ||||||
|---|---|---|---|---|---|---|
![]() アルカリ系温純水 | ![]() | ![]() 純水洗浄実施後 超音波純水洗浄 ※3回実施 | ![]() | ![]() 乾燥 | ![]() | ![]() 防錆袋1重梱包 |
作業環境:クラス1000 | 作業環境:クラス10 | |||||||
|---|---|---|---|---|---|---|---|---|
![]() 炭化水素系洗浄 Ro水洗浄 | ![]() | ![]() 高圧ジェット水洗(Ro水)後 純水(10MΩ・cm)で洗浄 | ![]() | ![]() 純水(13MΩ・cm)使用 | ![]() | ![]() 窒素ブロー使用 | ![]() | ![]() クラス10クリーン環境内の クリーンベンチで実施 |
作業環境:クラス1000 | 作業環境:クラス10 | |||||||||
|---|---|---|---|---|---|---|---|---|---|---|
![]() 炭化水素系洗浄 Ro水洗浄 | ![]() | ![]() 材質に応じた電解研磨層で 電解研磨 | ![]() | ![]() 高圧ジェット水洗(Ro水)後 純水(10MΩ・cm)で洗浄 | ![]() | ![]() 温純水(13MΩ・cm)使用 | ![]() | ![]() 窒素ブロー使用 | ![]() | ![]() クラス10クリーン環境内の クリーンベンチで実施 |
梱包例| 脱脂洗浄の場合 (TYPE型番:SL-□□) ![]() | 精密洗浄または電解研磨+精密洗浄の場合 (TYPE型番:SH-□□・SHD-□□) ![]() [ ! ]1重目・2重目の梱包とも、脱気されております。 |
洗浄効果・利用推奨環境洗浄方法 | 商品型番 | 梱包形態 | 未洗浄品と比べた効果 | ご利用環境(目安) | 利用シーン・工程 |
|---|---|---|---|---|---|
| 脱脂洗浄 | SL-□□ | 防錆梱包 | 油分除去 | 一般環境 | 通常組立工程 |
| バッテリー組立後工程 | |||||
| 精密洗浄 | SH-□□ | 脱気2重梱包 | 油分除去 粉塵除去 | クリーン環境(クラス10~1,000) | バッテリー組立工程 |
| 液晶関連組立後工程 | |||||
| 車載カメラ組立工程 | |||||
| 電解研磨+精密洗浄 | SHD-□□ | 脱気2重梱包 | 油分除去 粉塵除去 アウトガス低減 | 真空環境 クリーン環境(クラス10~1,000) | 半導体前工程 |
| 液晶成膜工程 | |||||
| 有機EL前工程 |
| 型番 |
|---|
通常単価(税別)
(税込単価) | 通常出荷日 |
洗浄不要の場合の代替品
|
|---|
- ( - ) | 3日目 |
|
- ( - ) | 3日目 |
|
- ( - ) | 3日目 |
|
- ( - ) | 3日目 |
|
- ( - ) | 3日目 |
|
- ( - ) | 3日目 |
|
- ( - ) | 3日目 |
|
- ( - ) | 3日目 |
|
- ( - ) | 3日目 |
|
- ( - ) | 3日目 |
|
- ( - ) | 3日目 |
|
- ( - ) | 3日目 |
|
- ( - ) | 3日目 |
|
- ( - ) | 3日目 |
|
- ( - ) | 3日目 |
|
- ( - ) | 3日目 |
|
- ( - ) | 3日目 |
|
- ( - ) | 3日目 |
|
- ( - ) | 3日目 |
|
- ( - ) | 3日目 |
|
- ( - ) | 3日目 |
| ・脱脂洗浄(防錆1重梱包) | :型番SL-□□ |
| ・精密洗浄(脱気2重梱包) | :型番SH-□□ |
| ・電解研磨+精密洗浄(脱気2重梱包) | :型番SHD-□□ |
| 商品型番 | 洗浄方法 | 梱包形態 | 未洗浄品と比べた効果 | ご利用環境(目安) | 工程別 |
| SL-□□ | 脱脂洗浄 | 防錆梱包 | 油分除去 | 一般環境 | 通常組立工程 |
| バッテリー組立後工程 | |||||
| SH-□□ | 精密洗浄 | 脱気2重梱包 | 油分除去 粉塵除去 | クリーン環境(クラス10~1,000) | バッテリー組立工程 |
| 液晶関連組立後工程 | |||||
| 車載カメラ組立工程 | |||||
| SHD-□□ | 電解研磨+精密洗浄 | 脱気2重梱包 | 油分除去 粉塵除去 アウトガス低減 | 真空環境 クリーン環境(クラス10~1,000) | 半導体前工程 |
| 液晶成膜工程 | |||||
| 有機EL前工程 |
【特長】・標準タイプのアジャスタパッドです。【材質】・ステンレス/スチールからお選びいただけます。
通常価格、通常出荷日が表示と異なる場合がございます
通常価格、通常出荷日が表示と異なる場合がございます

ミスミ
アジャスタパッド 標準タイプ
4.6通常価格(税別):133円~

ミスミ
アジャスタパッド 重荷重タイプ
4.7通常価格(税別):376円~

ミスミ
アジャスタパッド 固定タイプ
4.5通常価格(税別):347円~

ミスミ
ラバーベースアジャスタ
4.5通常価格(税別):323円~

ミスミ
アジャスタパッド 滑り防止タイプ
4.4通常価格(税別):231円~

ミスミ
アジャスタパッドユニット
4通常価格(税別):1,007円~

ミスミ
防振パッド 重荷重タイプ
4.9通常価格(税別):1,002円~

ミスミ
【エコノミーシリーズ】 RoHS対応 アジャスタパッド 中荷重タイプ
5通常価格(税別):230円~

ミスミ
【エコノミーシリーズ】 RoHS対応 アジャスタパッド 標準タイプ
4.7通常価格(税別):110円~