メカニカル部品技術窓口
ミスミ品のみ対象


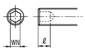
[ ! ]ねじ軸は回転し、3~5°傾きます。
| Type | [M]材質 | 洗浄方法 | |||
| 洗浄方法 | 洗浄環境 | 梱包形態 | 梱包環境 | ||
| SL-FJFNS | SUS304 | 脱脂洗浄 | 一般環境 | 防錆梱包 | 一般環境 |
| SH-FJFNS | 精密洗浄 | クラス1000 | 脱気2重梱包 | クラス10 | |
| SHD-FJFNS | 電解研磨+精密洗浄 | ||||
詳細図を記載しておりますので、ご確認ください。| 型式 | − | A |
| SL-FJFNS10 | − | 75 |
| SH-FJFNS24 | − | 100 |
| SHD-FJFNS16 | − | 100 |
| 型式 | L | D | (ℓ1) | (ℓ2) | E | B | M | ねじピッチ | 垂直耐荷重 (kN) | 質量 (g) | ¥基準単価 | ||
| Type | M-A | SH-FJFNS | SHD-FJFNS | ||||||||||
| SL-FJFNS SH-FJFNS SHD-FJFNS (ステンレス) | 10-75 | 100 | 60 | 7 | 8 | 18 | 17 | 10 | 1.5 | 10 | 319 | 3,300 | 3,600 |
| 10-100 | 125 | 330 | 3,530 | 3,830 | |||||||||
| 12-75 | 101 | 8 | 10 | 19 | 12 | 1.75 | 13 | 339 | 3,380 | 3,680 | |||
| 12-100 | 126 | 357 | 3,690 | 3,990 | |||||||||
| 12-125 | 151 | 376 | 3,950 | 4,250 | |||||||||
| 12-150 | 176 | 393 | 4,210 | 4,510 | |||||||||
| 16-75 | 103 | 10 | 13 | 24 | 16 | 2.0 | 16.6 | 436 | 4,100 | 4,400 | |||
| 16-100 | 128 | 446 | 4,330 | 4,630 | |||||||||
| 16-130 | 158 | 505 | 4,420 | 4,720 | |||||||||
| 16-150 | 178 | 532 | 4,780 | 5,080 | |||||||||
| 16-180 | 208 | 571 | 5,170 | 5,470 | |||||||||
| *20-100 | 131 | 13 | 16 | 30 | 20 | 2.5 | 39.2 | 626 | 3,950 | 4,250 | |||
| *20-130 | 161 | 692 | 3,990 | 4,290 | |||||||||
| *20-150 | 181 | 729 | 4,080 | 4,380 | |||||||||
| *20-180 | 211 | 800 | 4,100 | 4,400 | |||||||||
| 24-100 | 136 | 70 | 16 | 19 | 20 | 36 | 24 | 3.0 | 49.4 | 1,010 | 7,640 | 7,940 | |
| *24-130 | 166 | 1,100 | 7,930 | 8,230 | |||||||||
| 24-150 | 186 | 1,160 | 8,170 | 8,470 | |||||||||
| *24-180 | 216 | 1,250 | 8,670 | 8,970 | |||||||||
| 30-100 | 140 | 80 | 18 | 24 | 22 | 46 | 30 | 3.5 | 68.6 | 1,550 | 11,020 | 11,320 | |
| 30-150 | 190 | 1,780 | 11,840 | 12,140 | |||||||||
| 30-200 | 240 | 2,010 | 12,590 | 12,890 | |||||||||
| 型式 | − | (WC・WK・SC・WN) |
| SL-FJFNS12-150 | − | WC |
| 3 | 日目出荷 |
| Alteration | 四角取追加工 | 六角取追加工 | スパナ溝加工 | 六角レンチ穴加工 | ||||||||||||||||||||||||||||||||||||||||||||||||||||||
![]() | ![]() | ![]() | ![]() | |||||||||||||||||||||||||||||||||||||||||||||||||||||||
| Code | WC | WK | SC | WN | ||||||||||||||||||||||||||||||||||||||||||||||||||||||
| Spec. | 指定方法 WC [ ! ]20≧M≧10に適用
| 指定方法 WK [ ! ]20≧M≧10に適用
| 指定方法 SC [ ! ]20≧M≧10に適用
| 指定方法 WN [ ! ]20≧M≧10に適用
| ||||||||||||||||||||||||||||||||||||||||||||||||||||||
| ¥/1Code | 525 | 525 | 525 | 525 |

洗浄工程作業環境:一般環境 | ||||||
|---|---|---|---|---|---|---|
![]() アルカリ系温純水 | ![]() | ![]() 純水洗浄実施後 超音波純水洗浄 ※3回実施 | ![]() | ![]() 乾燥 | ![]() | ![]() 防錆袋1重梱包 |
作業環境:クラス1000 | 作業環境:クラス10 | |||||||
|---|---|---|---|---|---|---|---|---|
![]() 炭化水素系洗浄 Ro水洗浄 | ![]() | ![]() 高圧ジェット水洗(Ro水)後 純水(10MΩ・cm)で洗浄 | ![]() | ![]() 純水(13MΩ・cm)使用 | ![]() | ![]() 窒素ブロー使用 | ![]() | ![]() クラス10クリーン環境内の クリーンベンチで実施 |
作業環境:クラス1000 | 作業環境:クラス10 | |||||||||
|---|---|---|---|---|---|---|---|---|---|---|
![]() 炭化水素系洗浄 Ro水洗浄 | ![]() | ![]() 材質に応じた電解研磨層で 電解研磨 | ![]() | ![]() 高圧ジェット水洗(Ro水)後 純水(10MΩ・cm)で洗浄 | ![]() | ![]() 温純水(13MΩ・cm)使用 | ![]() | ![]() 窒素ブロー使用 | ![]() | ![]() クラス10クリーン環境内の クリーンベンチで実施 |
梱包例| 脱脂洗浄の場合 (TYPE型番:SL-□□) ![]() | 精密洗浄または電解研磨+精密洗浄の場合 (TYPE型番:SH-□□・SHD-□□) ![]() [ ! ]1重目・2重目の梱包とも、脱気されております。 |
洗浄効果・利用推奨環境洗浄方法 | 商品型番 | 梱包形態 | 未洗浄品と比べた効果 | ご利用環境(目安) | 利用シーン・工程 |
|---|---|---|---|---|---|
| 脱脂洗浄 | SL-□□ | 防錆梱包 | 油分除去 | 一般環境 | 通常組立工程 |
| バッテリー組立後工程 | |||||
| 精密洗浄 | SH-□□ | 脱気2重梱包 | 油分除去 粉塵除去 | クリーン環境(クラス10~1,000) | バッテリー組立工程 |
| 液晶関連組立後工程 | |||||
| 車載カメラ組立工程 | |||||
| 電解研磨+精密洗浄 | SHD-□□ | 脱気2重梱包 | 油分除去 粉塵除去 アウトガス低減 | 真空環境 クリーン環境(クラス10~1,000) | 半導体前工程 |
| 液晶成膜工程 | |||||
| 有機EL前工程 |
| 型番 |
|---|
通常単価(税別)
(税込単価) | 通常出荷日 |
洗浄不要の場合の代替品
|
|---|
- ( - ) | 3日目 |
|
- ( - ) | 3日目 |
|
- ( - ) | 3日目 |
|
- ( - ) | 3日目 |
|
- ( - ) | 3日目 |
|
- ( - ) | 3日目 |
|
- ( - ) | 3日目 |
|
- ( - ) | 3日目 |
|
- ( - ) | 3日目 |
|
- ( - ) | 3日目 |
|
- ( - ) | 3日目 |
|
- ( - ) | 3日目 |
|
- ( - ) | 3日目 |
|
- ( - ) | 3日目 |
|
- ( - ) | 3日目 |
|
- ( - ) | 3日目 |
|
- ( - ) | 3日目 |
|
- ( - ) | 3日目 |
|
- ( - ) | 3日目 |
|
- ( - ) | 3日目 |
|
- ( - ) | 3日目 |
|
- ( - ) | 3日目 |
|
- ( - ) | 3日目 |
|
- ( - ) | 3日目 |
|
- ( - ) | 3日目 |
|
- ( - ) | 3日目 |
|
- ( - ) | 3日目 |
|
- ( - ) | 3日目 |
|
- ( - ) | 3日目 |
|
- ( - ) | 3日目 |
|
- ( - ) | 3日目 |
|
- ( - ) | 3日目 |
|
- ( - ) | 3日目 |
|
- ( - ) | 3日目 |
|
- ( - ) | 3日目 |
|
- ( - ) | 3日目 |
|
- ( - ) | 3日目 |
|
- ( - ) | 3日目 |
|
- ( - ) | 3日目 |
|
- ( - ) | 3日目 |
|
- ( - ) | 3日目 |
|
- ( - ) | 3日目 |
|
- ( - ) | 3日目 |
|
- ( - ) | 3日目 |
| ・脱脂洗浄(防錆1重梱包) | :型番SL-□□ |
| ・精密洗浄(脱気2重梱包) | :型番SH-□□ |
| ・電解研磨+精密洗浄(脱気2重梱包) | :型番SHD-□□ |
| 商品型番 | 洗浄方法 | 梱包形態 | 未洗浄品と比べた効果 | ご利用環境(目安) | 工程別 |
| SL-□□ | 脱脂洗浄 | 防錆梱包 | 油分除去 | 一般環境 | 通常組立工程 |
| バッテリー組立後工程 | |||||
| SH-□□ | 精密洗浄 | 脱気2重梱包 | 油分除去 粉塵除去 | クリーン環境(クラス10~1,000) | バッテリー組立工程 |
| 液晶関連組立後工程 | |||||
| 車載カメラ組立工程 | |||||
| SHD-□□ | 電解研磨+精密洗浄 | 脱気2重梱包 | 油分除去 粉塵除去 アウトガス低減 | 真空環境 クリーン環境(クラス10~1,000) | 半導体前工程 |
| 液晶成膜工程 | |||||
| 有機EL前工程 |
通常価格、通常出荷日が表示と異なる場合がございます
通常価格、通常出荷日が表示と異なる場合がございます

ミスミ
アジャスタパッド 標準タイプ
4.6通常価格(税別):133円~

ミスミ
アジャスタパッド 重荷重タイプ
4.7通常価格(税別):376円~

ミスミ
アジャスタパッド 固定タイプ
4.5通常価格(税別):347円~

ミスミ
ラバーベースアジャスタ
4.5通常価格(税別):323円~

ミスミ
アジャスタパッド 滑り防止タイプ
4.4通常価格(税別):231円~

ミスミ
アジャスタパッド 省スペースタイプ (軽荷重)
4.5通常価格(税別):690円~

ミスミ
【エコノミーシリーズ】 RoHS対応 アジャスタパッド 中荷重タイプ
5通常価格(税別):230円~

ミスミ
アジャスタパッドユニット
4通常価格(税別):1,007円~

ミスミ
【エコノミーシリーズ】 RoHS対応 アジャスタパッド 標準タイプ
4.7通常価格(税別):110円~