メカニカル部品技術窓口
ミスミ品のみ対象

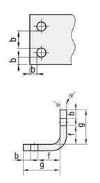
| 穴種 | ボルト通し穴 | タップ穴(並目) |
| Code | N・NA | M・MA |
| 形状図 | ![]() | ![]() |
| [ ! ] d寸法は下部 「N・NA加工寸法表」参照 |
| N・NA | 3 | 4 | 5 | 6 | 8 | 10 |
| d | 3.5 | 4.5 | 5.5 | 6.5 | 9 | 11 |
| T | f(穴と曲げの距離) | b (穴と断面 との距離) | g | ||||||
| SPCC SPHC SS400 | A5052 | SUS304 | 通し穴 | タップ穴 | 公差付穴 曲げと平行な長穴 | ||||
| L曲げ | Z・凸曲げ | L曲げ | Z・凸曲げ | ||||||
| 0.8 | ー | 0.8 | 2 | 3 | ー | ー | 3.5 | 1 | 5 |
| 1.0 | 1.0 | 1.0 | 2 | 3 | 3 | 5.5 | 3.5 | 1 | 5.5 |
| 1.2 | ー | 1.2 | 2 | 3 | 3 | 5.5 | 3.5 | 1 | 5.5 |
| 1.6 | 1.5 | 1.5 | 2 | 3.5 | 3 | 6 | 4 | 1 | 6 |
| 2.3 | 2.0 | 2.0 | 2 | 4.5 | 3 | 7 | 5 | 1.5 | 7 |
| 3.2 | 3.0 | 3.0 | 2 | 6.5 | 3 | 9 | 7 | 1.5 | 9 |
| 4.5 | 4.0 | 4.0 | 3 | 7.5 | 4 | 11 | 8(9) | 2 | 11 |
| ー | 5.0 | 5.0 | 3 | 14 | 4 | 16 | 15 | 2.5 | 18 |
| 6.0 | ー | 6.0 | 3 | 14 | 4 | 16 | 15 | 2.5 | 18 |
| 9.0 | ー | 9.0 | 20 | ー | 20.5 | ー | 20 | 4 | 20 |

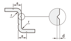
| T | 曲げ後R | ブレーキキズ | |||
| 位置 | 深さ | ||||
| SPCC SPHC SS400 | A5052 | SUS304 | (r) | (e) | (d) |
| 0.8 | ー | 0.8 | 0.8 | 5 | 0.1 |
| 1.0 | 1.0 | 1.0 | 1 | 5 | 0.1 |
| 1.2 | ー | 1.2 | 1.2 | 5 | 0.1 |
| 1.6 | 1.5 | 1.5 | 1.5 | 6 | 0.1 |
| 2.3 | 2.0 | 2.0 | 2.0 | 7.5 | 0.1 |
| 3.2 | 3.0 | 3.0 | 3.0 | 10.5 | 0.2 |
| 4.5 | 4.0 | 4.0 | 4.0 | 13.5 | 0.3 |
| ー | 5.0 | 5.0 | 5.0 | 17 | 0.5 |
| 6.0 | ー | 6.0 | 6.0 | 17 | 0.5 |
| 9.0 | ー | 9.0 | 9.0 | 27 | 0.8 |


| 型式 | [ M ]材質 | [ S ]表面処理 | 洗浄方法 | ||||
| Type | 材質記号 | 洗浄方法 | 洗浄環境 | 梱包形態 | 梱包環境 | ||
| SL-FSDAS | SUD | SUS304(2B) | - | 脱脂洗浄 | 一般環境 | 防錆梱包 | 一般環境 |
| SH-FSDAS | 精密洗浄 | クラス1000 | 脱気2重梱包 | クラス10 | |||
| SHD-FSDAS | 電解研磨+精密洗浄 | ||||||
| SL-FSDAS | AM | A5052 | - | 脱脂洗浄 | 一般環境 | 防錆梱包 | 一般環境 |
| SH-FSDAS | 精密洗浄 | クラス1000 | 脱気2重梱包 | クラス10 | |||
| SHD-FSDAS | 電解研磨+精密洗浄 | ||||||
| SL-FSDAS | AMW | アルマイト処理(白) | 脱脂洗浄 | 一般環境 | 防錆梱包 | 一般環境 | |
| SH-FSDAS | 精密洗浄 | クラス1000 | 脱気2重梱包 | クラス10 | |||
| SL-FSDAS | AMB | アルマイト処理(黒) | 脱脂洗浄 | 一般環境 | 防錆梱包 | 一般環境 | |
| SH-FSDAS | 精密洗浄 | クラス1000 | 脱気2重梱包 | クラス10 | |||
| SL-FSDAS | SPU | T0.8~3.2: SPCC T4.5~6.0: SPHC T9.0: SS400(黒皮) | 三価クロメート(白) | 脱脂洗浄 | 一般環境 | 防錆梱包 | 一般環境 |
| SH-FSDAS | 精密洗浄 | クラス1000 | 脱気2重梱包 | クラス10 | |||
| SL-FSDAS | SPK | 三価クロメート(黒) | 脱脂洗浄 | 一般環境 | 防錆梱包 | 一般環境 | |
| SH-FSDAS | 精密洗浄 | クラス1000 | 脱気2重梱包 | クラス10 | |||
| 型式 | - | T | - | A | - | B | - | L | - | X | - | H | - | F | - | 穴指定① Code・呼び径 | - | V | - | S | - | 穴指定② Code・呼び径 | ||
| Type | - | 材質記号 | ||||||||||||||||||||||
| SL-FSDAS | - | SUD | - | T2.0 | - | A30 | - | B30 | - | L30 | - | X20 | - | H15 | - | F10 | - | N3 | - | V10 | - | S20 | - | NA3 |
| 型式 | 選択 | 指定1mm単位 | X | H | F | 穴指定① | V | S | 穴指定② | |||||
| Type | 材質記号 | T | A | B | L | Code* | 呼び径 | Code* | 呼び径 | |||||
| SL-FSDAS SH-FSDAS SHD-FSDAS | SUD AM AMW AMB | 2.0 3.0 4.0 | 20~200 | 15~100 | 15~100 | 指定0.1mm単位 | N [ ! ] M | 3 4 5 6 8 10 [ ! ]加工寸法は 穴種選択表参照 | 指定0.1mm単位 | NA [ ! ] MA | 3 4 5 6 8 10 [ ! ]加工寸法は 穴種選択表参照 | |||
| SPU SPK | 0.8 1.0 1.2 1.6 2.3 3.2 4.5 | 20~200 | 15~100 | 15~100 | ||||||||||
| 6.0 | 20~200 | 20~100 | 20~100 | |||||||||||
| 9.0 | 20~200 | 32~100 | 20~100 | |||||||||||
| T | N・NA(ボルト通し穴) | M・MA(タップ穴) |
| 0.8 | 3・4・5・6・8・10 | 不可 |
| 1.0、1.2 | 3 | |
| 1.5、1.6 | 3・4 | |
| 2.0、2.3 | 3・4・5・6 | |
| 3.0、3.2 | 3・4・5・6・8 | |
| 4.0~6.0 | 3・4・5・6・8・10 | |
| 9.0 | 5・6・8・10 | 5・6・8・10 |
洗浄工程| ※材質がステンレスの場合、アルカリ系温水洗浄となることがあります。 | |
| ・脱脂洗浄(型式:SL-□□) | ※表面処理が低温黒色クロムメッキの場合、IPA洗浄となります。 |
作業環境:一般環境 | ||||||
|---|---|---|---|---|---|---|
![]() 炭化水素系洗浄※ Ro水洗浄 中性洗剤洗浄 | ![]() | ![]() 高圧ジェット水洗(Ro水) 後に純水(10MΩ・cm)で 洗浄 | ![]() | ![]() エアブロー(オイルフリー) 使用 | ![]() | ![]() 防錆袋使用 |
| ・精密洗浄(型式:SH-□□) | ※表面処理が低温黒色クロムメッキの場合、IPA洗浄となります。 |
作業環境:クラス1000 | 作業環境:クラス10 | |||||||
|---|---|---|---|---|---|---|---|---|
![]() 炭化水素系洗浄※ Ro水洗浄 中性洗剤洗浄 | ![]() | ![]() 高圧ジェット水洗(Ro水) 後に純水(10MΩ・cm)で 洗浄 | ![]() | ![]() 温純水(13MΩ・cm)使用 | ![]() | ![]() 窒素ブロー使用 | ![]() | ![]() クリーンベンチ(クラス10) で実施 |
作業環境:クラス1000 | 作業環境:クラス10 | |||||||||
|---|---|---|---|---|---|---|---|---|---|---|
![]() 炭化水素系洗浄 Ro水洗浄 中性洗剤洗浄 | ![]() | ![]() 材質に応じた電解研磨槽 で電解研磨 | ![]() | ![]() 高圧ジェット水洗(Ro水) 後に純水(10MΩ・cm)で 洗浄 | ![]() | ![]() 温純水(13MΩ・cm)使用 | ![]() | ![]() 窒素ブロー使用 | ![]() | ![]() クリーンベンチ(クラス10) で実施 |
梱包例| 脱脂洗浄の場合 (TYPE型番:SL-□□) | 精密洗浄または電解研磨+精密洗浄の場合 | |
| (TYPE型番:SH-□□・SHD-□□) | ||
| オーステナイト系ステンレス・アルミ材質の場合 | 鉄・マルテンサイト系ステンレス材質の場合 | |
![]() | ![]() | ![]() |
| 一部商品・サイズによっては、 梱包形態が異なる場合がございます。 | [ ! ]1重目・2重目の梱包とも、脱気されております。 | [ ! ]防錆対策として乾燥剤を同封しております。 1梱包につき1つになります。 |
洗浄効果・利用推奨環境洗浄方法 | 商品型番 | 梱包形態 | 未洗浄品と比べた効果 | ご利用環境(目安) | 利用シーン・工程 |
|---|---|---|---|---|---|
| 脱脂洗浄 | SL-□□ | 防錆梱包 | 油分除去 | 一般環境 | 通常組立工程 |
| バッテリー組立後工程 | |||||
| 精密洗浄 | SH-□□ | 脱気2重梱包 | 油分除去 粉塵除去 | クリーン環境(クラス10~1,000) | バッテリー組立工程 |
| 液晶関連組立後工程 | |||||
| 車載カメラ組立工程 | |||||
| 電解研磨+精密洗浄 | SHD-□□ | 脱気2重梱包 | 油分除去 粉塵除去 アウトガス低減 | 真空環境 クリーン環境(クラス10~1,000) | 半導体前工程 |
| 液晶成膜工程 | |||||
| 有機EL前工程 |
| 型番 |
|---|
通常単価(税別)
(税込単価) | 通常出荷日 |
洗浄不要の場合の代替品
|
|---|
- ( - ) | 6日目 |
|
- ( - ) | 6日目 |
|
- ( - ) | 6日目 |
|
- ( - ) | 6日目 |
|
- ( - ) | 8日目 |
|
- ( - ) | 8日目 |
|
- ( - ) | 8日目 |
|
- ( - ) | 8日目 |
|
- ( - ) | 8日目 |
|
- ( - ) | 8日目 |
|
- ( - ) | 8日目 |
|
- ( - ) | 8日目 |
|
- ( - ) | 6日目 |
|
- ( - ) | 6日目 |
|
- ( - ) | 6日目 |
|
- ( - ) | 6日目 |
|
- ( - ) | 6日目 |
|
- ( - ) | 6日目 |
|
- ( - ) | 6日目 |
|
- ( - ) | 6日目 |
|
- ( - ) | 6日目 |
|
- ( - ) | 6日目 |
|
- ( - ) | 6日目 |
|
- ( - ) | 6日目 |
|
- ( - ) | 6日目 |
|
- ( - ) | 6日目 |
|
- ( - ) | 6日目 |
|
- ( - ) | 6日目 |
|
- ( - ) | 6日目 |
|
- ( - ) | 6日目 |
|
- ( - ) | 6日目 |
|
- ( - ) | 6日目 |
|
- ( - ) | 6日目 |
|
- ( - ) | 6日目 |
|
- ( - ) | 6日目 |
|
- ( - ) | 6日目 |
|
- ( - ) | 8日目 |
|
- ( - ) | 8日目 |
|
- ( - ) | 8日目 |
|
- ( - ) | 8日目 |
|
- ( - ) | 8日目 |
|
- ( - ) | 8日目 |
|
- ( - ) | 8日目 |
|
- ( - ) | 8日目 |
|
- ( - ) | 6日目 |
|
- ( - ) | 6日目 |
|
- ( - ) | 6日目 |
|
- ( - ) | 6日目 |
|
- ( - ) | 6日目 |
|
- ( - ) | 6日目 |
|
- ( - ) | 6日目 |
|
- ( - ) | 6日目 |
|
- ( - ) | 6日目 |
|
- ( - ) | 6日目 |
|
- ( - ) | 6日目 |
|
- ( - ) | 6日目 |
| ・脱脂洗浄(防錆1重梱包) | :型番SL-□□ |
| ・精密洗浄(脱気2重梱包) | :型番SH-□□ |
| ・電解研磨+精密洗浄(脱気2重梱包) | :型番SHD-□□ |
| 商品型番 | 洗浄方法 | 梱包形態 | 未洗浄品と比べた効果 | ご利用環境(目安) | 工程別 |
| SL-□□ | 脱脂洗浄 | 防錆梱包 | 油分除去 | 一般環境 | 通常組立工程 |
| バッテリー組立後工程 | |||||
| SH-□□ | 精密洗浄 | 脱気2重梱包 | 油分除去 粉塵除去 | クリーン環境(クラス10~1,000) | バッテリー組立工程 |
| 液晶関連組立後工程 | |||||
| 車載カメラ組立工程 | |||||
| SHD-□□ | 電解研磨+精密洗浄 | 脱気2重梱包 | 油分除去 粉塵除去 アウトガス低減 | 真空環境 クリーン環境(クラス10~1,000) | 半導体前工程 |
| 液晶成膜工程 | |||||
| 有機EL前工程 |
| 材質記号 | A | L | T | SL-FSDAS | SH-FSDAS | SHD-FSDAS | |||||||||
| ¥基準単価 | ¥スライド単価 | ¥基準単価 | ¥スライド単価 | ¥基準単価 | ¥スライド単価 | ||||||||||
| 1~3コ | 4~7 | 8~19 | 20~100 | 1~3コ | 4~7 | 8~19 | 20~100 | 1~3コ | 4~7 | 8~19 | 20~100 | ||||
| SUD | 15 | 2.0 | 2,180 | 2,180 | 1,417 | 1,417 | 2,480 | 2,480 | 1,612 | 1,612 | 2,660 | 2,660 | 1,729 | 1,729 | |
| 20 | ~ | 3.0 | 2,180 | 2,180 | 1,438 | 1,438 | 2,480 | 2,480 | 1,636 | 1,636 | 2,660 | 2,660 | 1,755 | 1,755 | |
| ~ | 50 | 4.0 | 2,480 | 2,480 | 1,587 | 1,587 | 2,780 | 2,780 | 1,779 | 1,779 | 2,960 | 2,960 | 1,894 | 1,894 | |
| 100 | 51 | 2.0 | 2,340 | 2,340 | 1,497 | 1,497 | 2,640 | 2,640 | 1,689 | 1,689 | 2,820 | 2,820 | 1,804 | 1,804 | |
| ~ | 3.0 | 2,340 | 2,340 | 1,521 | 1,521 | 2,640 | 2,640 | 1,716 | 1,716 | 2,820 | 2,820 | 1,833 | 1,833 | ||
| 100 | 4.0 | 2,660 | 2,660 | 1,729 | 1,729 | 2,960 | 2,960 | 1,924 | 1,924 | 3,140 | 3,140 | 2,041 | 2,041 | ||
| 15 | 2.0 | 2,240 | 2,240 | 1,456 | 1,456 | 2,540 | 2,540 | 1,651 | 1,651 | 2,720 | 2,720 | 1,768 | 1,768 | ||
| 101 | ~ | 3.0 | 2,250 | 2,250 | 1,462 | 1,462 | 2,550 | 2,550 | 1,657 | 1,657 | 2,730 | 2,730 | 1,774 | 1,774 | |
| ~ | 50 | 4.0 | 2,570 | 2,570 | 1,670 | 1,670 | 2,870 | 2,870 | 1,865 | 1,865 | 3,050 | 3,050 | 1,982 | 1,982 | |
| 200 | 51 | 2.0 | 2,400 | 2,400 | 1,560 | 1,560 | 2,700 | 2,700 | 1,755 | 1,755 | 2,880 | 2,880 | 1,872 | 1,872 | |
| ~ | 3.0 | 2,410 | 2,410 | 1,566 | 1,566 | 2,710 | 2,710 | 1,761 | 1,761 | 2,890 | 2,890 | 1,878 | 1,878 | ||
| 100 | 4.0 | 2,770 | 2,770 | 1,772 | 1,772 | 3,070 | 3,070 | 1,964 | 1,964 | 3,250 | 3,250 | 2,080 | 2,080 | ||
| 材質記号 | A | L | T | SL-FSDAS | SH-FSDAS | SHD-FSDAS | |||||||||
| ¥基準単価 | ¥スライド単価 | ¥基準単価 | ¥スライド単価 | ¥基準単価 | ¥スライド単価 | ||||||||||
| 1~3コ | 4~7 | 8~19 | 20~100 | 1~3コ | 4~7 | 8~19 | 20~100 | 1~3コ | 4~7 | 8~19 | 20~100 | ||||
| AM | 15 | 2.0 | 2,000 | 2,000 | 1,320 | 1,320 | 2,300 | 2,300 | 1,518 | 1,518 | 2,480 | 2,480 | 1,637 | 1,637 | |
| 20 | ~ | 3.0 | 2,020 | 2,020 | 1,333 | 1,333 | 2,320 | 2,320 | 1,531 | 1,531 | 2,500 | 2,500 | 1,650 | 1,650 | |
| ~ | 50 | 4.0 | 2,330 | 2,330 | 1,468 | 1,468 | 2,630 | 2,630 | 1,657 | 1,657 | 2,810 | 2,810 | 1,770 | 1,770 | |
| 100 | 51 | 2.0 | 2,130 | 2,130 | 1,427 | 1,427 | 2,430 | 2,430 | 1,628 | 1,628 | 2,610 | 2,610 | 1,749 | 1,749 | |
| ~ | 3.0 | 2,160 | 2,160 | 1,447 | 1,447 | 2,460 | 2,460 | 1,648 | 1,648 | 2,640 | 2,640 | 1,769 | 1,769 | ||
| 100 | 4.0 | 2,500 | 2,500 | 1,575 | 1,575 | 2,800 | 2,800 | 1,764 | 1,764 | 2,980 | 2,980 | 1,877 | 1,877 | ||
| 15 | 2.0 | 2,070 | 2,070 | 1,387 | 1,387 | 2,370 | 2,370 | 1,588 | 1,588 | 2,550 | 2,550 | 1,709 | 1,709 | ||
| 101 | ~ | 3.0 | 2,090 | 2,090 | 1,379 | 1,379 | 2,390 | 2,390 | 1,577 | 1,577 | 2,570 | 2,570 | 1,696 | 1,696 | |
| ~ | 50 | 4.0 | 2,400 | 2,400 | 1,512 | 1,512 | 2,700 | 2,700 | 1,701 | 1,701 | 2,880 | 2,880 | 1,814 | 1,814 | |
| 200 | 51 | 2.0 | 2,200 | 2,200 | 1,474 | 1,474 | 2,500 | 2,500 | 1,675 | 1,675 | 2,680 | 2,680 | 1,796 | 1,796 | |
| ~ | 3.0 | 2,230 | 2,230 | 1,494 | 1,494 | 2,530 | 2,530 | 1,695 | 1,695 | 2,710 | 2,710 | 1,816 | 1,816 | ||
| 100 | 4.0 | 2,570 | 2,570 | 1,645 | 1,645 | 2,870 | 2,870 | 1,837 | 1,837 | 3,050 | 3,050 | 1,952 | 1,952 | ||
| AMW | 15 | 2.0 | 2,560 | 2,560 | 1,690 | 1,690 | 2,860 | 2,860 | 1,888 | 1,888 | - | ||||
| 20 | ~ | 3.0 | 2,580 | 2,580 | 1,703 | 1,703 | 2,880 | 2,880 | 1,901 | 1,901 | |||||
| ~ | 50 | 4.0 | 2,990 | 2,990 | 1,914 | 1,914 | 3,290 | 3,290 | 2,106 | 2,106 | |||||
| 100 | 51 | 2.0 | 2,780 | 2,780 | 1,863 | 1,863 | 3,080 | 3,080 | 2,064 | 2,064 | |||||
| ~ | 3.0 | 2,820 | 2,820 | 1,861 | 1,861 | 3,120 | 3,120 | 2,059 | 2,059 | ||||||
| 100 | 4.0 | 3,280 | 3,280 | 2,066 | 2,066 | 3,580 | 3,580 | 2,255 | 2,255 | ||||||
| 15 | 2.0 | 3,050 | 3,050 | 2,013 | 2,013 | 3,350 | 3,350 | 2,211 | 2,211 | - | |||||
| 101 | ~ | 3.0 | 3,070 | 3,070 | 2,026 | 2,026 | 3,370 | 3,370 | 2,224 | 2,224 | |||||
| ~ | 50 | 4.0 | 3,500 | 3,500 | 2,240 | 2,240 | 3,800 | 3,800 | 2,432 | 2,432 | |||||
| 200 | 51 | 2.0 | 3,300 | 3,300 | 2,178 | 2,178 | 3,600 | 3,600 | 2,376 | 2,376 | |||||
| ~ | 3.0 | 3,330 | 3,330 | 2,198 | 2,198 | 3,630 | 3,630 | 2,396 | 2,396 | ||||||
| 100 | 4.0 | 3,880 | 3,880 | 2,522 | 2,522 | 4,180 | 4,180 | 2,717 | 2,717 | ||||||
| AMB | 15 | 2.0 | 2,560 | 2,560 | 1,690 | 1,690 | 2,860 | 2,860 | 1,888 | 1,888 | - | ||||
| 20 | ~ | 3.0 | 2,580 | 2,580 | 1,703 | 1,703 | 2,880 | 2,880 | 1,901 | 1,901 | |||||
| ~ | 50 | 4.0 | 2,990 | 2,990 | 1,914 | 1,914 | 3,290 | 3,290 | 2,106 | 2,106 | |||||
| 100 | 51 | 2.0 | 2,780 | 2,780 | 1,863 | 1,863 | 3,080 | 3,080 | 2,064 | 2,064 | |||||
| ~ | 3.0 | 2,820 | 2,820 | 1,861 | 1,861 | 3,120 | 3,120 | 2,059 | 2,059 | ||||||
| 100 | 4.0 | 3,280 | 3,280 | 2,066 | 2,066 | 3,580 | 3,580 | 2,255 | 2,255 | ||||||
| 15 | 2.0 | 3,050 | 3,050 | 2,013 | 2,013 | 3,350 | 3,350 | 2,211 | 2,211 | - | |||||
| 101 | ~ | 3.0 | 3,070 | 3,070 | 2,026 | 2,026 | 3,370 | 3,370 | 2,224 | 2,224 | |||||
| ~ | 50 | 4.0 | 3,500 | 3,500 | 2,240 | 2,240 | 3,800 | 3,800 | 2,432 | 2,432 | |||||
| 200 | 51 | 2.0 | 3,300 | 3,300 | 2,178 | 2,178 | 3,600 | 3,600 | 2,376 | 2,376 | |||||
| ~ | 3.0 | 3,330 | 3,330 | 2,198 | 2,198 | 3,630 | 3,630 | 2,396 | 2,396 | ||||||
| 100 | 4.0 | 3,880 | 3,880 | 2,522 | 2,522 | 4,180 | 4,180 | 2,717 | 2,717 | ||||||
| 材質記号 | A | L | T | SL-FSDAS | SH-FSDAS | ||||||
| ¥基準単価 | ¥スライド単価 | ¥基準単価 | ¥スライド単価 | ||||||||
| 1~3コ | 4~7 | 8~19 | 20~100 | 1~3コ | 4~7 | 8~19 | 20~100 | ||||
| SPU | 20~100 | 15~50 | 0.8 | 1,920 | 1,920 | 1,222 | 1,222 | 2,040 | 2,040 | 1,298 | 1,298 |
| 1.0 | 1,920 | 1,920 | 1,222 | 1,222 | 2,040 | 2,040 | 1,298 | 1,298 | |||
| 1.2 | 1,920 | 1,920 | 1,222 | 1,222 | 2,040 | 2,040 | 1,298 | 1,298 | |||
| 1.6 | 1,920 | 1,920 | 1,222 | 1,222 | 2,040 | 2,040 | 1,298 | 1,298 | |||
| 2.3 | 2,050 | 2,050 | 1,301 | 1,301 | 2,170 | 2,170 | 1,377 | 1,377 | |||
| 3.2 | 2,050 | 2,050 | 1,315 | 1,315 | 2,170 | 2,170 | 1,392 | 1,392 | |||
| 4.5 | 2,220 | 2,220 | 1,411 | 1,411 | 2,340 | 2,340 | 1,488 | 1,488 | |||
| 6.0 | 2,440 | 2,440 | 1,552 | 1,552 | 2,560 | 2,560 | 1,628 | 1,628 | |||
| 9.0 | 2,580 | 2,580 | 1,642 | 1,642 | 2,700 | 2,700 | 1,718 | 1,718 | |||
| 51~100 | 0.8 | 2,050 | 2,050 | 1,301 | 1,301 | 2,170 | 2,170 | 1,377 | 1,377 | ||
| 1.0 | 2,050 | 2,050 | 1,301 | 1,301 | 2,170 | 2,170 | 1,377 | 1,377 | |||
| 1.2 | 2,050 | 2,050 | 1,301 | 1,301 | 2,170 | 2,170 | 1,377 | 1,377 | |||
| 1.6 | 2,050 | 2,050 | 1,301 | 1,301 | 2,170 | 2,170 | 1,377 | 1,377 | |||
| 2.3 | 2,200 | 2,200 | 1,375 | 1,375 | 2,320 | 2,320 | 1,450 | 1,450 | |||
| 3.2 | 2,200 | 2,200 | 1,389 | 1,389 | 2,320 | 2,320 | 1,465 | 1,465 | |||
| 4.5 | 2,380 | 2,380 | 1,524 | 1,524 | 2,500 | 2,500 | 1,601 | 1,601 | |||
| 6.0 | 2,620 | 2,620 | 1,660 | 1,660 | 2,740 | 2,740 | 1,736 | 1,736 | |||
| 9.0 | 2,620 | 2,620 | 1,660 | 1,660 | 2,740 | 2,740 | 1,736 | 1,736 | |||
| 101~200 | 15~50 | 0.8 | 1,990 | 1,990 | 1,260 | 1,260 | 2,110 | 2,110 | 1,336 | 1,336 | |
| 1.0 | 1,990 | 1,990 | 1,260 | 1,260 | 2,110 | 2,110 | 1,336 | 1,336 | |||
| 1.2 | 1,990 | 1,990 | 1,260 | 1,260 | 2,110 | 2,110 | 1,336 | 1,336 | |||
| 1.6 | 1,990 | 1,990 | 1,260 | 1,260 | 2,110 | 2,110 | 1,336 | 1,336 | |||
| 2.3 | 2,130 | 2,130 | 1,336 | 1,336 | 2,250 | 2,250 | 1,412 | 1,412 | |||
| 3.2 | 2,130 | 2,130 | 1,364 | 1,364 | 2,250 | 2,250 | 1,441 | 1,441 | |||
| 4.5 | 2,320 | 2,320 | 1,497 | 1,497 | 2,440 | 2,440 | 1,575 | 1,575 | |||
| 6.0 | 2,580 | 2,580 | 1,642 | 1,642 | 2,700 | 2,700 | 1,718 | 1,718 | |||
| 9.0 | 2,580 | 2,580 | 1,642 | 1,642 | 2,700 | 2,700 | 1,718 | 1,718 | |||
| 51~100 | 0.8 | 2,130 | 2,130 | 1,350 | 1,350 | 2,250 | 2,250 | 1,426 | 1,426 | ||
| 1.0 | 2,130 | 2,130 | 1,350 | 1,350 | 2,250 | 2,250 | 1,426 | 1,426 | |||
| 1.2 | 2,130 | 2,130 | 1,350 | 1,350 | 2,250 | 2,250 | 1,426 | 1,426 | |||
| 1.6 | 2,130 | 2,130 | 1,350 | 1,350 | 2,250 | 2,250 | 1,426 | 1,426 | |||
| 2.3 | 2,300 | 2,300 | 1,448 | 1,448 | 2,420 | 2,420 | 1,523 | 1,523 | |||
| 3.2 | 2,300 | 2,300 | 1,502 | 1,502 | 2,420 | 2,420 | 1,580 | 1,580 | |||
| 4.5 | 2,520 | 2,520 | 1,614 | 1,614 | 2,640 | 2,640 | 1,691 | 1,691 | |||
| 6.0 | 2,790 | 2,790 | 1,771 | 1,771 | 2,910 | 2,910 | 1,847 | 1,847 | |||
| 9.0 | 2,800 | 2,800 | 1,782 | 1,782 | 2,920 | 2,920 | 1,858 | 1,858 | |||
| SPK | 20~100 | 15~50 | 0.8 | 1,920 | 1,920 | 1,222 | 1,222 | 2,040 | 2,040 | 1,298 | 1,298 |
| 1.0 | 1,920 | 1,920 | 1,222 | 1,222 | 2,040 | 2,040 | 1,298 | 1,298 | |||
| 1.2 | 1,920 | 1,920 | 1,222 | 1,222 | 2,040 | 2,040 | 1,298 | 1,298 | |||
| 1.6 | 1,920 | 1,920 | 1,222 | 1,222 | 2,040 | 2,040 | 1,298 | 1,298 | |||
| 2.3 | 2,050 | 2,050 | 1,301 | 1,301 | 2,170 | 2,170 | 1,377 | 1,377 | |||
| 3.2 | 2,050 | 2,050 | 1,315 | 1,315 | 2,170 | 2,170 | 1,392 | 1,392 | |||
| 4.5 | 2,220 | 2,220 | 1,411 | 1,411 | 2,340 | 2,340 | 1,488 | 1,488 | |||
| 6.0 | 2,440 | 2,440 | 1,552 | 1,552 | 2,560 | 2,560 | 1,628 | 1,628 | |||
| 9.0 | 2,790 | 2,790 | 1,771 | 1,771 | 2,910 | 2,910 | 1,847 | 1,847 | |||
| 51~100 | 0.8 | 2,050 | 2,050 | 1,301 | 1,301 | 2,170 | 2,170 | 1,377 | 1,377 | ||
| 1.0 | 2,050 | 2,050 | 1,301 | 1,301 | 2,170 | 2,170 | 1,377 | 1,377 | |||
| 1.2 | 2,050 | 2,050 | 1,301 | 1,301 | 2,170 | 2,170 | 1,377 | 1,377 | |||
| 1.6 | 2,050 | 2,050 | 1,301 | 1,301 | 2,170 | 2,170 | 1,377 | 1,377 | |||
| 2.3 | 2,200 | 2,200 | 1,375 | 1,375 | 2,320 | 2,320 | 1,450 | 1,450 | |||
| 3.2 | 2,200 | 2,200 | 1,389 | 1,389 | 2,320 | 2,320 | 1,465 | 1,465 | |||
| 4.5 | 2,380 | 2,380 | 1,524 | 1,524 | 2,500 | 2,500 | 1,601 | 1,601 | |||
| 6.0 | 2,620 | 2,620 | 1,660 | 1,660 | 2,740 | 2,740 | 1,736 | 1,736 | |||
| 9.0 | 2,770 | 2,770 | 1,762 | 1,762 | 2,890 | 2,890 | 1,838 | 1,838 | |||
| 101~200 | 15~50 | 0.8 | 1,990 | 1,990 | 1,260 | 1,260 | 2,110 | 2,110 | 1,336 | 1,336 | |
| 1.0 | 1,990 | 1,990 | 1,260 | 1,260 | 2,110 | 2,110 | 1,336 | 1,336 | |||
| 1.2 | 1,990 | 1,990 | 1,260 | 1,260 | 2,110 | 2,110 | 1,336 | 1,336 | |||
| 1.6 | 1,990 | 1,990 | 1,260 | 1,260 | 2,110 | 2,110 | 1,336 | 1,336 | |||
| 2.3 | 2,130 | 2,130 | 1,336 | 1,336 | 2,250 | 2,250 | 1,412 | 1,412 | |||
| 3.2 | 2,130 | 2,130 | 1,364 | 1,364 | 2,250 | 2,250 | 1,441 | 1,441 | |||
| 4.5 | 2,320 | 2,320 | 1,497 | 1,497 | 2,440 | 2,440 | 1,575 | 1,575 | |||
| 6.0 | 2,580 | 2,580 | 1,642 | 1,642 | 2,700 | 2,700 | 1,718 | 1,718 | |||
| 9.0 | 2,630 | 2,630 | 1,671 | 1,671 | 2,750 | 2,750 | 1,748 | 1,748 | |||
| 51~100 | 0.8 | 2,130 | 2,130 | 1,350 | 1,350 | 2,250 | 2,250 | 1,426 | 1,426 | ||
| 1.0 | 2,130 | 2,130 | 1,350 | 1,350 | 2,250 | 2,250 | 1,426 | 1,426 | |||
| 1.2 | 2,130 | 2,130 | 1,350 | 1,350 | 2,250 | 2,250 | 1,426 | 1,426 | |||
| 1.6 | 2,130 | 2,130 | 1,350 | 1,350 | 2,250 | 2,250 | 1,426 | 1,426 | |||
| 2.3 | 2,300 | 2,300 | 1,448 | 1,448 | 2,420 | 2,420 | 1,523 | 1,523 | |||
| 3.2 | 2,300 | 2,300 | 1,502 | 1,502 | 2,420 | 2,420 | 1,580 | 1,580 | |||
| 4.5 | 2,520 | 2,520 | 1,614 | 1,614 | 2,640 | 2,640 | 1,691 | 1,691 | |||
| 6.0 | 2,790 | 2,790 | 1,771 | 1,771 | 2,910 | 2,910 | 1,847 | 1,847 | |||
| 9.0 | 2,970 | 2,970 | 1,892 | 1,892 | 3,090 | 3,090 | 1,969 | 1,969 | |||
| 7 | 日目出荷 |
| 9 | 日目出荷 |
| 12 | 日目出荷 |
通常価格、通常出荷日が表示と異なる場合がございます
通常価格、通常出荷日が表示と異なる場合がございます

ミスミ
L型板金 取付板・ブラケット-フリー寸法タイプ- FALBS・FALBR
4.3
ミスミ
L型板金 取付板・ブラケット-フリー寸法タイプ- FACAS・FACAR
4.5
ミスミ
L型板金 取付板・ブラケット-センター振り分けタイプ- FSMAS
4.4
ミスミ
L型板金 取付板・ブラケット-フリー寸法タイプ- FAMAS・FAMAR
4.3
ミスミ
L型板金 取付板・ブラケット-センター振り分けタイプ- FSLAS
4.5
ミスミ
L型板金 取付板・ブラケット-フリー寸法タイプ- FALCS・FALCR
4.4
ミスミ
L型板金 取付板・ブラケット-フリー寸法タイプ- FAMCS・FAMCR
4.3
ミスミ
L型板金 取付板・ブラケット-センター振り分けタイプ- FSLBS
4.7
ミスミ
L型板金 取付板・ブラケット-フリー寸法タイプ- FASBS・FASBR
4.7