メカニカル部品技術窓口
ミスミ品のみ対象



ミスミの低価格新ブランド【エコノミーシリーズ】順次商品拡大中!特集ページはこちら商品ラインナップ
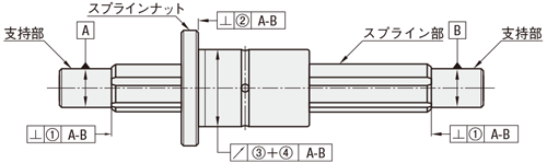
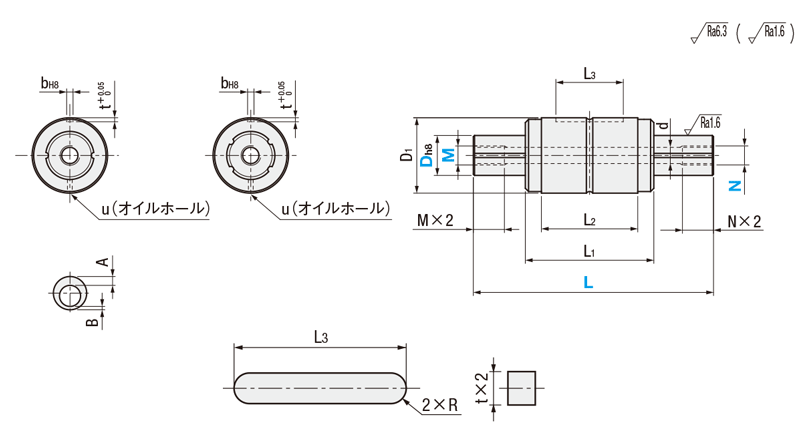
D=16・20 D=25・30 肉厚方向誤差=A-B [ A ]付属キー寸法| スプライン軸 | ナット | ||||
| [ M ] 材質 | [ H ] 硬度 | [ S ] 表面処理 | [ M ] 材質 | [ H ] 硬度 | [ S ] 表面処理 |
| SUJ2相当 | 58HRC~ | - | SCr420相当 | 58HRC~ | - |
| 注文例 | 型式(Type・D) | - | L | - | M | - | N |
| E-BKHS16 | - | 300 | - | M10 | - | N10 |
| 型番 | L 指定1mm単位 | M(並目)・N(並目) 選択 | d | D1 | L1 | L2 | L3 | bH8 | R | t | u | 偏肉 A-B | 基本定格トルク | 基本定格荷重 | 静的許容モーメント | 質量 | |||||||||
| Type | Dh8 | 許容差 | 動Ct (N·m) | 静C0t (N·m) | 動C (kN) | 静C0 (kN) | M01 (N·m) | M02 (N·m) | スプライン軸 (kg/m) | ナット (kg) | |||||||||||||||
| E-BKHS | 16 | 70~500 | 10 | 8 | 31 | 0 ー0.039 | 50 | 34 | 17.5 | 3.5 | 1.75 | 2 | 2 | 1.0 以下 | 35.7 | 65.1 | 4.3 | 7.7 | 37.1 | 260 | 1.20 | 0.12 | |||
| 20 | 80~600 | 12 | 10 | 35 | 56 | 39.7 | 29 | 4 | 2 | 2.5 | 59.5 | 107.8 | 5.9 | 10.7 | 55.3 | 380 | 1.88 | 0.183 | |||||||
| 25 | 90~800 | 18 | 15 | 42 | 71 | 50.3 | 36 | 3 | 135.1 | 243.6 | 10 | 15 | 103.5 | 685.9 | 2.50 | 0.39 | |||||||||
| 30 | 100~800 | 20 | 16 | 47 | 80 | 60 | 42 | 190.4 | 343 | 11 | 19.6 | 148.4 | 932.7 | 4.03 | 0.43 | ||||||||||
| 型番 | ¥基準単価 | ||||||||
| Type | D | 最短L~150 | L151~200 | L201~300 | L301~400 | L401~500 | L501~600 | L601~700 | L701~800 |
| E-BKHS | 16 | 11,640 | 12,230 | 14,130 | 16,640 | 18,390 | - | - | - |
| 20 | 13,390 | 13,900 | 15,660 | 18,450 | 20,350 | 23,300 | - | - | |
| 25 | 16,210 | 16,950 | 19,160 | 20,180 | 23,260 | 25,610 | 29,340 | 31,910 | |
| 30 | 18,990 | 19,570 | 21,910 | 23,220 | 26,460 | 29,100 | 33,270 | 35,980 | |
| Alterations | ①ナット数追加 | ②表面処理追加 |
![]() | ニッケルメッキ (淡黄色) | |
| Code | NTW | NKR |
| Spec. | 同じ仕様のナットを1個追加工します (1個を2個に追加) | スプライン軸とナットの表面を ニッケルメッキ(膜厚1μm以上)します |
| ¥/1Code | ナット数追加価格表参照 | 1,500 |
| D | ストレートナット |
| 13 | 3,600 |
| 16 | 4,350 |
| 20 | 5,100 |
| 25 | 6,000 |
| 30 | 7,500 |

| 回転方向の隙間 | スプライン支持部に対する各部精度許容差(最大) | |||||||||||||||||||||||||||||||||||||||||||||||||||||||||||||||||||||||||||||||||||||||||||||||||||||||||||||||
|
|
|
| |||||||||||||||||||||||||||||||||||||||||||||||||||||||||||||||||||||||||||||||||||||||||||||||||||||||||||||
| 走行寿命 | 寿命時間 | ||||
●ラジアル負荷の場合 ●トルク負荷の場合![]() | L : 走行寿命 ft : 温度係数 fh: 硬さ係数 fp: 定格荷重の比率 fw: 荷重係数 L0: 定格寿命 C : 基本動定格荷重(N) F : 作用ラジアル荷重 Ct: 基本動定格トルク T : 作用トルク | (Km) (50km) (N) (N・m) (N・m) |
| ||
| Lh: 走行時間 L : 走行寿命 St: ストローク長さ n : 毎分往復回数 | (hr) (km) (mm) (cpm) | ||||
| 温度係数(ft) | 硬さ係数(fh) | |||
| 温 度 係 数 ft | ![]() | 硬 さ 係 数 fh | ![]() | |
| 温度(℃) | 軸の硬さ(HRC) |
| D8 〜20 | D25・30 |
![]() | ![]() |
| fp = 1 | fp = 1 |
| D8 〜20 | D25・30 |
![]() | ![]() |
| fp = 0.71 | fp = 0.71 |
| 使用条件 | 荷重係数(fw) |
| 振動や衝撃のほとんど無い場合 | 1~2 |
| (低速走行 15m/min以下) | |
| 振動や衝撃のややある場合 | 2~3 |
| (中速走行 60m/min以下) | |
| 振動や衝撃の激しい場合 | 3以上 |
| (高速走行 60m/minを超えるもの) |
| D | 基本定格トルク | 基本定格荷重 | 静的許容モーメント | 断面二次モーメント mm⁴ | ||||
| 動 Ct N・m | 静 C0t N・m | 動 C kN | 静 C0 kN | 動 M01 N・m | 静 M02 N・m | 中実軸 | 中空軸 | |
| 8 | 3.3 | 6 | 0.8 | 1.4 | 3.5 | 25.2 | 200 | 196 |
| 10 | 13.3 | 23.8 | 2.6 | 3.9 | 9.5 | 85.3 | 490 | 477 |
| 13 | 19.6 | 36.4 | 3.2 | 5.4 | 15 | 124.6 | 1400 | 1282 |
| 16 | 35.7 | 65.1 | 4.3 | 7.7 | 37.1 | 260 | 3215 | 3014 |
| 20 | 59.5 | 107.8 | 5.9 | 10.7 | 55.3 | 380 | 7851 | 7360 |
| 25 | 135.1 | 243.6 | 10 | 15 | 103.5 | 685.9 | 18466 | 15981 |
| 30 | 190.4 | 343 | 11 | 19.6 | 148.4 | 932.7 | 33122 | 29905 |


(例)| ボールスプライン組み付け時の注意 ■相手穴の公差 ナットをハウジングへ取り付ける際の相手穴の公差は、H7公差を推奨します。 ■軸端加工を行うお客様へ ナット挿入を容易にするため、軸端加工後の面取り、並びにスプライン溝の エッジ部のバリを丸やすり等で除去して使用ください。 |
| ■ピックアンドプレイス機 | ■スイングクランプ |
![]() | ![]() |
| 型番 |
|---|
通常価格、通常出荷日が表示と異なる場合がございます

ミスミ
ボールスプライン スタンダードタイプ
3.7
ミスミ
ボールスプライン 両端めねじタイプ
4.3
ミスミ
ボールスプライン 片端段付おねじ片端めねじタイプ
3
ミスミ
ボールスプライン 両端段付タイプ
0
ミスミ
ボールスプライン 片端段付タイプ
0
ミスミ
ボールスプライン 両端段付めねじタイプ
4
ミスミ
高剛性ニードルガイドセット フランジ付タイプ
0
ミスミ
ボールスプライン 片端めねじタイプ
5
ミスミ
ボールスプライン 片端段付おねじタイプ
0