メカニカル部品技術窓口
ミスミ品のみ対象
ガススプリング 取付方向自在タイプ GSKSFタイプになります。
| 型式 |
| GSKSF15050-150 |
[ ! ]本商品は、修理・ガス補充をすることができません。
使用環境・回数等により反力が低下する場合があります。必要反力に満たなくなった場合には交換してください。
| 型式 | 最大長 Lmax | 最小長 Lmin | ストローク | ガス反力(20℃) | A | B | C | D | G | H | 適合取付 ブラケット | 重量 (g) | ¥基準単価 | |||||
| Type | No. | Lmax-10mm ストローク時 | Lmax-(S)mm ストローク時 | |||||||||||||||
| N | kgf | N | kgf | (S) | ||||||||||||||
| GSKSF | 14050-30 | 181 | 131 | 50 | 27 | 2.8 | 35 | 3.6 | 40 | 14 | 7 | 15 | 6.5 | R8 | 110 | GSHB6A | 83 | 2,060 |
| 14050-90 | 85 | 8.7 | 109 | 11.1 | 82 | 2,060 | ||||||||||||
| 14050-150 | 147 | 15.0 | 189 | 19.3 | 82 | 2,060 | ||||||||||||
| 14050-190 | 186 | 19.0 | 239 | 24.4 | 82 | 2,060 | ||||||||||||
| 14050-210 | 206 | 21.0 | 264 | 26.9 | 83 | 2,060 | ||||||||||||
| 14070-90 | 221 | 151 | 70 | 81 | 8.3 | 109 | 11.1 | 60 | 130 | 94 | 2,130 | |||||||
| 14070-105 | 104 | 10.6 | 124 | 12.6 | 41.5 | 94 | 2,120 | |||||||||||
| 14070-110 | 280 | 210 | 107 | 10.9 | 144 | 14.7 | 60 | 24 | 181 | 119 | 2,340 | |||||||
| 14070-200 | 221 | 151 | 196 | 20.0 | 258 | 26.3 | 15 | 130 | 96 | 2,150 | ||||||||
| 14090-70 | 261 | 171 | 90 | 69 | 7.0 | 95 | 9.7 | 80 | 150 | 109 | 2,150 | |||||||
| 14090-80 | 79 | 8.1 | 109 | 11.1 | 108 | 2,150 | ||||||||||||
| 14090-90 | 88 | 9.0 | 122 | 12.4 | 109 | 2,150 | ||||||||||||
| 14090-150 | 147 | 15.0 | 203 | 20.7 | 108 | 2,150 | ||||||||||||
| 14090-200 | 196 | 20.0 | 271 | 27.6 | 107 | 2,150 | ||||||||||||
| 14100-80 | 281 | 181 | 100 | 76 | 7.8 | 106 | 10.8 | 90 | 160 | 114 | 2,180 | |||||||
| 14100-110 | 110 | 11.2 | 153 | 15.6 | 112 | 2,150 | ||||||||||||
| 14100-200 | 196 | 20.0 | 273 | 27.8 | 113 | 2,180 | ||||||||||||
| 18090-270 | 261 | 171 | 90 | 263 | 26.8 | 332 | 33.9 | 80 | 18 | 8 | 141 | 2,210 | ||||||
| 18100-330 | 281 | 181 | 100 | 324 | 33.0 | 411 | 41.9 | 90 | 149 | 2,250 | ||||||||
| 18110-220 | 380 | 270 | 110 | 214 | 21.8 | 272 | 27.7 | 100 | 24 | 8.5 | R10 | 240 | GSSB8A GSSB8B GSSB8C GSSB8D GSSB8E | 200 | 2,350 | |||
| 18150-270 | 475 | 325 | 150 | 267 | 27.2 | 348 | 35.5 | 140 | 295 | 252 | 2,350 | |||||||
| 18150-380 | 374 | 38.1 | 487 | 49.7 | 252 | 2,350 | ||||||||||||
| 22080-200 | 279 | 199 | 80 | 196 | 20.0 | 233 | 23.8 | 70 | 22 | 10 | 170 | 212 | 2,220 | |||||
| 22080-250 | 246 | 25.1 | 292 | 29.8 | 215 | 2,240 | ||||||||||||
| 22096-400 | 306 | 210 | 96 | 392 | 40.0 | 477 | 48.7 | 86 | 181 | 230 | 2,260 | |||||||
| 22100-430 | 375 | 275 | 100 | 427 | 43.6 | 484 | 49.4 | 90 | 246 | 267 | 2,270 | |||||||
| 22142-310 | 472 | 330 | 142 | 304 | 31.0 | 348 | 35.5 | 125 | 301 | 322 | 2,470 | |||||||
| 22147-150 | 412 | 265 | 147 | 147 | 15.0 | 181 | 18.5 | 130 | 236 | 289 | 2,440 | |||||||
| 22147-240 | 240 | 24.5 | 295 | 30.1 | 290 | 2,440 | ||||||||||||
| 22150-350 | 464 | 314 | 150 | 343 | 35.0 | 406 | 41.4 | 140 | 285 | 319 | 2,480 | |||||||
| 22200-490 | 600 | 400 | 200 | 481 | 49.1 | 624 | 63.6 | 190 | 371 | 424 | 2,370 | |||||||
| 22200-540 | 534 | 54.5 | 693 | 70.7 | 424 | 2,370 | ||||||||||||
| 22235-150 | 580 | 344.5 | 235.5 | 141 | 14.4 | 177 | 18.1 | 206 | 315.5 | 386 | 2,130 | |||||||
| 22235-250 | 248 | 25.3 | 311 | 31.7 | 387 | 2,420 | ||||||||||||
| 22235-350 | 343 | 35.0 | 431 | 44.0 | 385 | 2,400 | ||||||||||||
| 22235-510 | 507 | 51.7 | 637 | 65.0 | 389 | 2,460 | ||||||||||||
| 22243-220 | 627 | 384 | 243 | 214 | 21.8 | 273 | 27.8 | 215 | 355 | 424 | 2,480 | |||||||
| 22243-480 | 472 | 48.1 | 603 | 61.5 | 424 | 2,480 | ||||||||||||
| 22270-380 | 670 | 400 | 270 | 374 | 38.1 | 464 | 47.3 | 240 | 371 | 437 | 2,540 | |||||||
| 22270-560 | 553 | 56.4 | 686 | 70.0 | 441 | 2,540 | ||||||||||||
| 22356-220 | 833 | 476.5 | 356.5 | 216 | 22.0 | 280 | 28.6 | 350 | 447.5 | 525 | 2,760 | |||||||
| 22356-350 | 345 | 35.2 | 447 | 45.6 | 527 | 2,760 | ||||||||||||
| 26300-820 | 700 | 400 | 300 | 812 | 82.8 | 1100 | 112.2 | 275 | 25.4 | 12.5 | 20 | 374.5 | 661 | 2,580 | ||||
| 26300-930 | 927 | 94.6 | 1256 | 128.1 | 665 | 2,580 | ||||||||||||

ガススプリング取付方向自在タイプ
・シリンダ・ロッドに曲げ荷重・ねじれ等の力を加えないでください。ガススプリングだけで荷重を受ける使い方は偏荷重を受けることとなり、シールの早期劣化や異音、ガス・オイル漏れの原因となります。正しくご使用いただくために、以下の点にご注意ください。
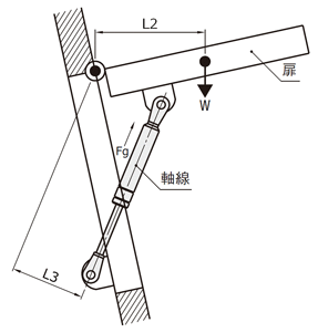
回転運動の場合1.必要反力(Fg)は、次の式で求め、おおよその使用可能な型式を見つけてください。
| Fg = | W × L2 |
| L3 |
2.選定するガススプリングの反力は、Fg×1.1以上にしてください。
ガス反力は±15%程の公差があります。3.必要の反力(F×1.1)がガススプリングの最大長-( )mm時の反力より大きい時は2本以上使用してください。
4.反力は20℃で設計されています。温度が変化する毎に反力は増減します。
Fg :必要反力(最大長時)

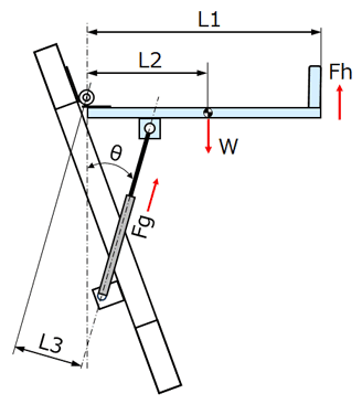
全開時のモーメント計算
| Fh= | (W×L2−n×Fg×cos(𝜃)×L3) |
| L1 |

| Fh= | (W×L2−n×Fg×cos(𝜃)×L3) |
| L1 |

| 型番 |
|---|
通常単価(税別)
(税込単価) | 通常出荷日 |
|---|
2,540円 ( 2,794円 ) | 3日目 |
2,540円 ( 2,794円 ) | 3日目 |
2,540円 ( 2,794円 ) | 45日目 |
2,540円 ( 2,794円 ) | 3日目 |
2,540円 ( 2,794円 ) | 3日目 |
2,630円 ( 2,893円 ) | 3日目 |
2,610円 ( 2,871円 ) | 3日目 |
2,890円 ( 3,179円 ) | 3日目 |
2,650円 ( 2,915円 ) | 20日目 |
2,650円 ( 2,915円 ) | 20日目 |
2,650円 ( 2,915円 ) | 3日目 |
2,650円 ( 2,915円 ) | 3日目 |
2,650円 ( 2,915円 ) | 3日目 |
2,650円 ( 2,915円 ) | 3日目 |
2,690円 ( 2,959円 ) | 3日目 |
2,650円 ( 2,915円 ) | 3日目 |
2,690円 ( 2,959円 ) | 3日目 |
2,720円 ( 2,992円 ) | 3日目 |
2,780円 ( 3,058円 ) | 3日目 |
2,900円 ( 3,190円 ) | 3日目 |
2,900円 ( 3,190円 ) | 3日目 |
2,900円 ( 3,190円 ) | 3日目 |
2,730円 ( 3,003円 ) | 3日目 |
2,770円 ( 3,047円 ) | 3日目 |
2,790円 ( 3,069円 ) | 3日目 |
2,800円 ( 3,080円 ) | 3日目 |
3,040円 ( 3,344円 ) | 3日目 |
3,010円 ( 3,311円 ) | 3日目 |
3,010円 ( 3,311円 ) | 3日目 |
3,060円 ( 3,366円 ) | 3日目 |
2,920円 ( 3,212円 ) | 3日目 |
2,920円 ( 3,212円 ) | 3日目 |
2,630円 ( 2,893円 ) | 3日目 |
2,980円 ( 3,278円 ) | 3日目 |
2,960円 ( 3,256円 ) | 3日目 |
3,030円 ( 3,333円 ) | 3日目 |
3,060円 ( 3,366円 ) | 3日目 |
3,060円 ( 3,366円 ) | 3日目 |
3,140円 ( 3,454円 ) | 3日目 |
3,140円 ( 3,454円 ) | 3日目 |
3,400円 ( 3,740円 ) | 3日目 |
3,400円 ( 3,740円 ) | 3日目 |
3,190円 ( 3,509円 ) | 3日目 |
3,190円 ( 3,509円 ) | 3日目 |
ガススプリング 取付方向自在タイプ GSKSFタイプになります。



通常価格、通常出荷日が表示と異なる場合がございます
通常価格、通常出荷日が表示と異なる場合がございます

ミスミ
ガススプリング取付用ブラケット FGS/FGSSタイプ適合
4.1通常価格(税別):851円~

ミスミ
ガススプリング 取付方向自在タイプ GSKSFタイプ
5通常価格(税別):2,540円~

ミスミ
ガススプリング ガス反力指定タイプ
4通常価格(税別):839円~

ミスミ
ガススプリング 取付用ブラケット GSSF/GSS/GSKSFシリーズ対応タイプ
3.7通常価格(税別):851円

スガツネ工業
STABILUS 金属製アイレット仕様ガススプリング LIFT-O-MAT
5通常価格(税別):6,116円~

KYB(カヤバ工業)
KMFシリーズ(フリーピストンタイプ)
4.4通常価格(税別):3,031円~

ナベヤ
ガススプリング GSKFシリーズ(取付角度フリータイプ)
5通常価格(税別):3,301円~

タキゲン製造
ガスダンパー用フリージョイント(ブラケット・B-461-BRACK・ステンレス製)
4.8通常価格(税別):607円~

ミスミ
ステンレスガススプリング
1