メカニカル部品技術窓口
ミスミ品のみ対象
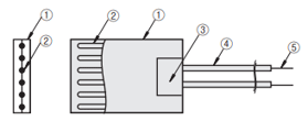
リード線押さえシートを発熱部の外に逃がしており、 挟み込んでの使用がしやすい構造です。
| 型式 | − | A | − | B | − | V | − | W | − | F |
| MRHSF | − | 200 | − | 200 | − | V200 | − | W210 | − | F1000 |
| 型式 | 指定5mm単位 | V(電圧) 選択 | W(電力) 指定10W単位 許容公差±10% | F(リード線長) 指定10mm単位 | リード線押さえシート寸法 | 電力密度 (W/cm2) | ||
| Type | A | B | A1 | B1 | ||||
| MRHSF | 50~500 | 25~50 | 100 200 | 10~1600 | 100~1000 | 25 | 25 | 0.2≦W/cm2≦0.8 [ ! ]W/cm2=W/(AB/100) |
| 55~100 | 25 | 40 | ||||||
| 105~200 | 40 | 40 | ||||||
| 205~350 | 60 | 100 | ||||||
| 355~400 | 80 | 120 | ||||||
●柔軟性のある薄いシリコンゴムを使用している為、加熱面へ確実にフィットします。
●加熱面全面に均一な発熱をさせたい場合に適しています。
●ヒータ表面の最高使用可能温度は220℃です。(固定タイプは200℃、高温タイプは 250℃です。)
上下2枚のシリコンゴムシートの間に抵抗エレメントを配し、内部エアーを除去した後に
圧縮プレスし、薄いシート状に一体化した構造となっております。
[ ! ]ヒータを大気中で空焼きしないでください。発火等の恐れがあります。
ヒータ取付け面に対して浮いている場合も同様です。
ただし、電力密度が0.5W/cm2以下の場合は常温雰囲気中で空焼きが可能です。
[ ! ]ヒータを金属板と被加熱物で挟みこむ際は、リード線及びリード線押さえシートが
金属板に接触しないようにしてください。
[ ! ]ヒータに穴をあける等の加工は出来ません。また、ラバーに傷がついてしまった際は
使用できません。
[ ! ]ヒータを被加熱物から外す際は必ず電源を切ってください。また、電源を切った後の
ヒータには、すぐに触れないでください。
[ ! ]被加熱物とヒータ間のすき間が大きいと異常昇温します。ヒータ固定には十分注意が
必要です。


| ヒータサイズ | : | MRHSS(200×150) |
| 被加熱物 | : | アルミニウム(210×150×1.5) |
| ヒータ取り付け方法 | : | ラバーヒータ用接着剤にて接着 |
| 温度測定位置 | : | アルミ表面中央でK熱電対にて測定 |
| 雰囲気温度 | : | 室温15℃ |
①ヒータに必要な熱量(W)を決める。
被加熱物の質量、比熱、上昇温度、及び設定温度までの加熱時間から以下の計算式より算出します。

効率は、保温、断熱、ヒータの配置等によって異なるため、正確に
算出することは難しいですが、一般的に0.2~0.5が適当です。
例)100×100×(3mm)の質量が約0.2kgのステンレス材を使用したヒータプレートを、150℃にする場合。
(ヒータプレートが20℃で、設定温度までの上昇時間を15分とする。)

●ラバーヒータの選定
①ヒータの形状、及び大きさを決めます。
| 例)MRHSS | - | 100 | - | 100 | ||
| (A) | (B) |
②使用される電圧(V)を決めます。
| 例)MRHSS | - | 100 | - | 100 | - | V200 | ||
| (A) | (B) | (V) |
③被加熱物が必要とする熱量(W)を決めます。
| 例)MRHSS | - | 100 | - | 100 | - | V200 | - | W40 | ||
| (A) | (B) | (V) | (W) |
| ※ | ![]() | ||
例) | ![]() = 0.4 |
⑤リード線の長さを決める。
※角型サーモスタット付タイプ(P.1690)はリード線長さ1000となります。
| 例)MRHSS | - | 100 | - | 100 | - | V200 | - | W40 | - | F700 | ||
| (A) | (B) | (V) | (W) | (F) |
リード線押さえシートを発熱部の外に逃がしており、 挟み込んでの使用がしやすい構造です。
| A | ¥基準単価 | |||||||
| B25〜50 | B55〜100 | B105〜150 | B155〜200 | B205〜250 | B255〜300 | B305〜350 | B355〜400 | |
| 50〜100 | 6,930 | 6,930 | - | - | - | - | - | - |
| 105〜150 | 6,930 | 7,350 | 8,400 | - | - | - | - | - |
| 155〜200 | 7,140 | 7,880 | 9,250 | 11,030 | - | - | - | - |
| 205〜250 | 7,560 | 8,660 | 9,870 | 11,760 | 13,340 | - | - | - |
| 255〜300 | 7,930 | 8,820 | 10,920 | 12,180 | 14,070 | 16,280 | - | - |
| 305〜350 | 8,300 | 9,650 | 11,450 | 13,340 | 15,750 | 18,170 | 22,050 | - |
| 355〜400 | 8,510 | 9,770 | 11,970 | 14,810 | 18,900 | 20,370 | 24,470 | 26,360 |
| 405〜450 | 8,820 | 9,980 | 13,020 | 15,960 | 19,530 | 21,950 | 26,250 | 28,880 |
| 455〜500 | 9,450 | 11,620 | 14,180 | 18,590 | 21,740 | 24,680 | 27,620 | 31,500 |
| 数量区分 | 標準対応 | 個別対応 | ||
| 小口 | 大口 | |||
| 数 量 | 1〜10 | 11〜15 | 16〜20 | 21~ |
| 値引率 | 基準単価 | 10% | 20% | お見積り |

[ ! ]リード線押さえシートを外に出すことにより発熱部の寸法指定を可能としたヒータです。

[ ! ]挟み込んで使用しやすい構造で、従来品(MRHSSなど)より熱効率が上がっております。



通常価格、通常出荷日が表示と異なる場合がございます
通常価格、通常出荷日が表示と異なる場合がございます

ミスミ
ラバーヒータ 角型
4.1通常価格(税別):4,850円~

ミスミ
ラバーヒータ用接着剤
5通常価格(税別):7,120円

ミスミ
ラバーヒータ 丸型
0
坂口電熱
サミコン230ヒーター
4.3通常価格(税別):4,162円~

ミスミ
カートリッジヒータ 固定タイプ
3.9通常価格(税別):2,260円~

ミスミ
温度センサ取付部品
4.6通常価格(税別):920円~

ミスミ
カートリッジヒータ-L寸・W数・フランジ選択-
4.2
ミスミ
温度センサ スタンダードタイプ
4.6通常価格(税別):3,320円~

ミスミ
K熱電対用コネクタ
4.3通常価格(税別):1,610円~